公司简介 公司新闻 综合资讯 产品展示 产品目录 客户反馈 联系我们 电子邮局
  主要产品为静态混合器、动态混合设备、传热反应设备、过滤设备、消声设备、阻火设备等

管式反应器
切水器
管道过滤器
混合器
自清洗过滤器
空气过滤器
灭菌过滤器
滤件系列
精细过滤器
粉体输送设备
粉体混合设备
液体搅拌设备
消声器
特种小型设备
排水器
高效换热器
纸浆漂白专用设备
除污器(滤水器)
喷射器
纤维除雾器

 
 
P阻火器
  P型阻火器是用来阻止管道内易燃气体或易燃液体蒸气因意外引燃,火焰沿管道蔓延引起爆炸的安全装置。广泛应用于火炬系统、加热炉燃料气系统、石油气体回收系统或其它易燃气体系统等输送或排放易燃气体的管道上,能有效地保证整个系统装置及使用点的安全运行。

           
1
PI型阻火器

型号
公称直径DN
结构尺寸mm
备注
D
H
P-I-15
15
Ф108
330
设计压力1.0MPa
设计温度:<80℃
P-I-20
20
Ф108
334
P-I-25
25
Ф159
338
P-I-32
32
Ф159
372
P-I-40
40
Ф219
376
P-I-50
50
Ф219
376
P-I-65
65
Ф219
456
P-I-80
80
Ф273
458
P-I-100
100
Ф273
462
P-I-125
125
Ф325
490
P-I-150
150
Ф325
506
材质
壳体
阻火网
碳钢或不锈钢
不锈钢丝


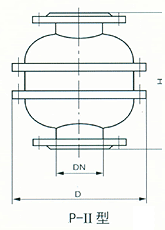
2PII型阻火器

型号
公称直径DN
结构尺寸mm
备注
D
H
P-II-25
25
310
170
设计压力1.0MPa
设计温度:<200℃
P-II-40
40
310
170
P-II-50
50
310
170
P-II-80
90
320
230
P-II-100
100
360
305
P-II-150
150
390
355
P-II-200
200
460
450
P-II-250
250
490
500
材质
壳体
阻火芯
碳钢或不锈钢
不锈钢钢带



3
PIII型阻火器

型号
公称直径
DN
结构尺寸mm
备注
L
d
D
P-III-50
50
204
Ф159
Ф280
设计压力1.0MPa
设计温度:<100℃
P-III-80
80
206
Ф219
Ф335
P-III-100
100
210
Ф273
Ф390
P-III-150
150
218
Ф277
Ф500
P-III-200
200
222
Ф426
Ф565
P-III-250
250
228
Ф480
Ф615
P-III-300
300
234
Ф530
Ф670
P-III-400
400
246
Ф630
Ф780
材质
壳体
阻火网
碳钢或不锈钢
不锈钢丝网


4PIV型阻火器

型号
公称直径
DN
结构尺寸mm
备注
D
H
h
P-IV-200
200
Ф400
770
500
设计压力1.0MPa
设计温度:<80℃
P-IV-225
225
Ф400
770
500
P-IV-250
250
Ф500
820
550
P-IV-300
300
Ф500
820
550
P-IV-350
350
Ф600
890
610
P-IV-400
400
Ф600
890
610
P-IV-450
450
Ф800
1015
730
P-IV-500
500
Ф800
1175
800
材质
壳体
阻火网
Q235-A
钢丝网



5PV型阻火透气罩

型号
L
H
P-V-40
180
125
P-V-50
180
155
P-V-80
210
160
P-V-100
250
160
P-V-150
290
172



6PVI(T)型氧气管道阻火器
氧气管道阻火器和氧气管道阀门后阻火器采用特种铜合金和不锈钢、碳钢焊接而成。它在氧气管道中具有阻火特点,可有效地切断火源,杜绝管道中燃爆事故的发生,在管道输氧过程中,愈来愈显示它的必要性与阻燃的优越性。

注:①13材质为0Crl8Ni9Ti1Crl8Ni9Ti20

        2材质为T1T2TU1TU2B10
公称压力2.94MPa
规格(mm)
氧气管道阻火器型号
外形尺寸
氧气管道阀门后阻火器型号
外形尺寸
DN
P-VI
D
L
P-VI(T)
D
L
15
P-VI-15
18
600
P-VI(T)-15
18
1600
20
P-VI-20
25
600
P-VI(T)-20
25
1600
25
P-VI-25
32
600
P-VI(T)-25
32
1600
32
P-VI-32
38
600
P-VI(T)-32
38
1600
40
P-VI-40
45
600
P-VI(T)-40
45
1600
50
P-VI-50
57
600
P-VI(T)-50
57
1600
65
P-VI-65
76
600
P-VI(T)-65
76
1600
80
P-VI-80
89
600
P-VI(T)-80
89
1600
100
P-VI-100
108
600
P-VI(T)-100
108
1600
125
P-VI-125
133
600
P-VI(T)-125
133
1600
150
P-VI-150
159
600
P-VI(T)-150
159
1600
200
P-VI-200
219
600
P-VI(T)-200
219
1700
250
P-VI-250
273
600
P-VI(T)-250
273
1700
300
P-VI-300
325
600
P-VI(T)-300
325
1700
350
P-VI-350
377
600
P-VI(T)-350
377
1700
400
P-VI-400
426
600
P-VI(T)-400
426
1700

  打印此页】 【返回
   
   
南通沃尔驰石化工程有限公司 地址:启东市汇龙镇中央河中路691号 邮编:226200 http://www.nt-worlds.com E-mail:13862978163@126.com
电话:0513-83325673 传真:0513-83119878 手机: 13862978163 混合器 静态混合器 汽水混合器